U.S. Centennial of Flight Commission home page

 

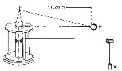
Benjamin Robins' whirling arm

Benjamin Robins, the British mathematician, proved in 1746 that air resistance was a critical factor in the flight of projectiles. His apparatus consisted of a whirling arm device in which weight (M) turned a drum and rotated the test object (P).



George Cayley's whirling arm

In the early 1800s, George Cayley devised the whirling arm as a way to measure the drag and lift of airfoils.



George Cayley's first glider

George Cayley used a whirling arm to get the data he needed to design his first glider.



Hiram Maxim's wind tunnel

Hiram Maxim built an "air blast apparatus for measuring the lift and drift of aeroplanes and aerocurves. "



The First Wind Tunnels

Beginning in the mid-1700s, hopeful airplane designers realized that, if they were to build aircraft that would fly, they needed to understand how air moved over aircraft surfaces. Although they observed birds and tried to pattern their aircraft after bird flight, these aircraft uniformly failed. Bird flight did not provide the data they needed. They recognized that, to get the necessary data, they had two choices: they could move their test aircraft through the air at the required velocity or they could blow air past a stationary model. The whirling arm was early researchers' attempt at the first method.

The English mathematician Benjamin Robins used a whirling arm in his experiments in 1746. Robins mounted variously shaped objects on the tip of the arm and spun them in different directions. He found that the shape of the object seemed to affect the air resistance, or drag, even though equal total areas were being spun and were exposed to the airstream. He realized that the theories of Sir Isaac Newton did not adequately describe the complex relationship between drag, the shape and orientation of the object, and air velocity. However, his whirling arm could reach speeds of only a few feet per second, which limited his experiments. Soon after, another Englishman, John Smeaton, adopted Robins' invention of the whirling arm to test the forces exerted by air and water on windmill blades.

Sir George Cayley also used a whirling arm to measure the drag and lift of airfoils. His whirling arm was five feet (1.5 meters) long and attained top speeds of about 10 to 20 feet per second (3 to 6 meters per second). Cayley's 1804 unpiloted glider was built and flew successfully based on test data gathered from his whirling arm.

Otto Lilienthal's glider experiments were preceded by his whirling arm tests of various lifting surfaces. Between 1866 and 1889, he built several whirling arms, ranging from 6.5 to 23 feet (2 to 7 meters) in diameter. However, the tests he carried out with these arms gave incorrect results for both flat and cambered airfoils and led him to believe that powered flight was highly unlikely.

Hiram Maxim also used a huge whirling arm to test airfoils. His whirling arm included elaborate instruments to measure lift, drag, and relative air velocity. Samuel Langley, the mathematician, astronomer, and secretary of the Smithsonian Institution, was another who experimented using a whirling arm before he built his aerodromes. His whirling arm was 60 feet (18 meters) in diameter and its 10-horsepower (7.5-kilowatt) engine could accelerate it to speeds of 100 miles per hour (161 kilometers per hour). But his results were thrown off by the winds and turbulence that the arm itself created.

The whirling arm provided a good deal of the aerodynamic data through the end of the nineteenth century. However, it had limitations. Basically, it was imprecise so the results it produced were also imprecise. For instance, the arm stirred up the air with its motion so that both the arm itself and the air it went through were moving. Experimenters could not determine the true relative velocity between the aircraft model and the air through which it moved. It was also very difficult to mount instruments on the arm so that the forces exerted on it could be measured at the same time that it was spinning at a high speed.

So experimenters took another tactic—that of blowing air past a stationary model—and began looking for a dependable way to do this. The wind tunnel was the result. This apparatus solved most of the problems associated with the whirling arm. Once researchers realized its potential, they eliminated the whirling arm from their repertoire of experimental tools.

Frank H. Wenham was the first individual to design a wind tunnel. He was a self-taught British engineer whose interests spanned a wide range of engineering applications. A charter member of the Aeronautical Society of Great Britain, he lectured frequently to the Society. He persuaded the organization to raise the funds needed to build a wind tunnel, which was constructed in 1871. Wenham designed the apparatus and was the first to use it. John Browning, an optician and another member of the group, built the tunnel, which was located at Penn's Marine Engineering Works at Greenwich, England.

The tunnel was 12 feet (3.7 meters) long and 18 inches (45.7 centimeters) square. A steam-powered fan drove the air through a duct to the test section where the model was mounted. The air could travel at a maximum velocity of 40 miles per hour (64.4 kilometers per hour). It was an unsophisticated device—it had an unsteady airstream that made accurate measurements that could be replicated almost impossible—and had no vanes for guiding the air. Nevertheless, it yielded important results.

Wenham mounted various shapes in the tunnel and measured the lift and drag forces created by the air that rushed by the shapes. Results showed that at low angles of incidence, the relationship of lift to drag of the test surfaces (the lift-to-drag ratio) was higher than expected at a low angle of attack. With such high lift-to-drag ratios, wings could support substantial weights, making powered flight seem more attainable than previously thought. The research also showed that long, narrow wings, called high-aspect-ratio wings, provided much more lift than stubby wings with the same area.

Hiram Maxim also built a wind tunnel when he realized that his whirling arm had limitations. His wind tunnel was also large—12 feet (3.7 meters) long and with a test section three-feet (0.9 meter) square. Twin fans blew air into the test section at 50 miles per hour (80.5 kilometers per hour). The tunnel and whirling arm proved to Maxim that cambered airfoils provided the most lift with the least drag. He was also the first to understand that the total drag produced by a structure was greater than the sum of the drags of the individual components—called aerodynamic interference. This concept was demonstrated in 1894 when the huge aircraft he built and "flew" developed so much lift that it tore loose from its test track and destroyed itself.

In the early 1880s, Horatio Phillips tried to carry out tests similar to Wenham's with his own wind tunnel. His tunnel was a box six feet (1.8 meters) long and 17 inches (43 centimeters) on each side. He directed a jet of steam through the box, blasting a series of wing shapes that he placed inside the tunnel. He hoped to find out how fast the velocity of the oncoming airstream needed to be so that each different form, which carried equal weights, would remain suspended in the airflow.

In his tunnel, Phillips eliminated the problems associated with airflow fluctuation that troubled Wenham by using a steam injection system to generate the airflow. The air would be sucked through the entrance into the tunnel. It then went through a narrow area called a throat that was in the center of the tunnel and which reduced the flow area. The aerodynamic model to be tested was mounted in the throat area, and the flow velocity would be greatest there—up to about 41 miles per hour (66 kilometers per hour). Although an improvement over Wenham's box, Phillips' tunnel was still fairly primitive. But it did provide data that allowed Phillips to build the aircraft he used in his attempts to fly.

Soon after Phillips conducted his experiments, another European, this time the Frenchman Gustave Eiffel, would conduct experiments using a wind tunnel. And in the United States, the Wright brothers would design and use a wind tunnel that would prove instrumental in the success of the first flying machine.

--Judy Rumerman

References:

Air Force ROTC Curriculum Division, Maxwell Air Force Base, Alabama. Aerospace Science: The Science of Flight. Maxwell Air Force Base, Alabama, 1988.

Anderson, Jr., John D. A History of Aerodynamics, Cambridge, England: Cambridge University Press, 1997.

Baals, Donald D. and Corliss, William R. Wind Tunnels of NASA. Washington, D.C.: National Aeronautics and Space Administration, 1981.

On-Line References:

Maxim, Hiram S. Natural and Artificial Flight. http://hawaii.psychology.msstate.edu/invent/i/Maxim/library/MaximFlight.html

 

Organization

Standard Number

Educational Standard

National Council of Teachers of Mathematics

N/A

Understand meaning of mathematical operations

National Council of Teachers of Mathematics

N/A

Understand the value and use of mathematical language.

International Technology Education Association

2

Students will develop an understanding of core concepts of technology.

International Technology Education Association

10

Students will develop an understanding of the role of research and development in problem solving.